lemon-mirror:
Home >> Toyota >> 2007 >> Prius Base >> Repair and Diagnosis >> Electrical >> Gauges >> Meter >> Combination Meter >> Disassembly

Combination Meter: Disassembly

  1. REMOVE NO. 1 COMBINATION METER COVER 
    1. Remove the 2 screws.
      Fig 1: Removing No. 1 Combination Meter Cover Screws
      G04476222Courtesy of © TOYOTA, LICENSE AGREEMENT TMS1002
    2. Detach the 2 claws, and then remove the combination meter cover.
      Fig 2: Removing Combination Meter Cover Claws
      G04476223Courtesy of © TOYOTA, LICENSE AGREEMENT TMS1002
  2. REMOVE METER CIRCUIT PLATE 
    NOTE: When disassembling the combination meter assembly, eliminate static electricity by touching the vehicle body to prevent the components from being damaged.
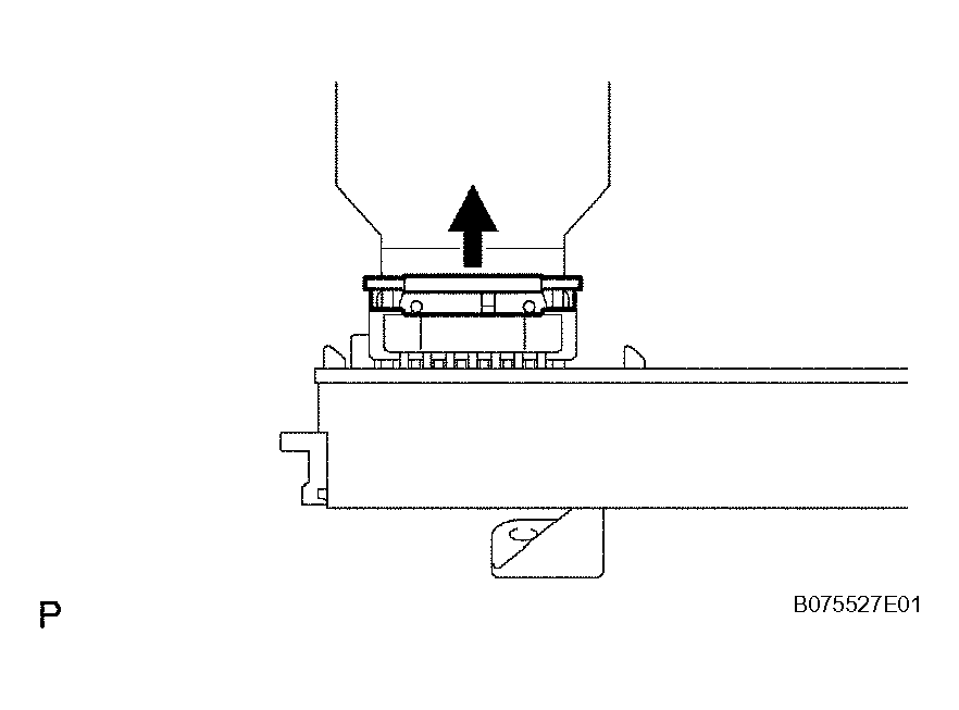
    1. Pull the connector lock in the direction indicated by the arrow in Fig 3 and separate the No. 3 meter circuit plate from the meter circuit plate.
      Fig 3: Pulling Connector Lock
      G04476224Courtesy of © TOYOTA, LICENSE AGREEMENT TMS1002
    2. Detach the 5 claws, and then remove the meter circuit plate.
      Fig 4: Detaching Meter Circuit Plate Claws
      G04476225Courtesy of © TOYOTA, LICENSE AGREEMENT TMS1002
  3. REMOVE NO. 2 COMBINATION METER CASE 
  4. REMOVE NO. 2 COMBINATION METER COVER 
    NOTE: When disassembling the combination meter assembly, eliminate static electricity by touching the vehicle body to prevent the components from being damaged.
    1. Remove the 2 screws.
      Fig 5: Removing No. 2 Combination Meter Cover Screws
      G04476226Courtesy of © TOYOTA, LICENSE AGREEMENT TMS1002
    2. Detach the 2 claws, and then remove the combination meter cover.
      Fig 6: Detaching No. 2 Combination Meter Cover Claws
      G04476227Courtesy of © TOYOTA, LICENSE AGREEMENT TMS1002
  5. REMOVE NO. 2 METER CIRCUIT PLATE 
    NOTE: When disassembling the combination meter assembly, eliminate static electricity by touching the vehicle body to prevent the components from being damaged.
    1. Pull the connector lock in the direction indicated by the arrow in Fig 7 and separate the No. 4 meter circuit plate from the No. 2 meter circuit plate.
      Fig 7: Pulling Connector Lock
      G04476228Courtesy of © TOYOTA, LICENSE AGREEMENT TMS1002
    2. Detach the 4 claws, and then remove the meter circuit plate.
      Fig 8: Removing Meter Circuit Plate Claws
      G04476229Courtesy of © TOYOTA, LICENSE AGREEMENT TMS1002
  6. REMOVE NO. 3 COMBINATION METER CASE 
  7. REMOVE NO. 1 COMBINATION METER REFLECTOR 
    1. Remove the 4 clips.
      Fig 9: Removing No. 1 Combination Meter Reflector Clips
      G04476230Courtesy of © TOYOTA, LICENSE AGREEMENT TMS1002
    2. Remove the screw and combination meter reflector.
      Fig 10: Removing Screw And Combination Meter Reflector
      G04476231Courtesy of © TOYOTA, LICENSE AGREEMENT TMS1002
  8. REMOVE NO. 3 COMBINATION METER COVER 
    1. Remove the 4 screws.
    2. Release the 2 claws of the cover, as shown in Fig 11.
    3. Raise the cover from the bottom and remove the combination meter cover.
      Fig 11: Removing No. 3 Combination Meter Cover
      G04476232Courtesy of © TOYOTA, LICENSE AGREEMENT TMS1002
  9. REMOVE NO. 3 METER CIRCUIT PLATE 
    NOTE: When disassembling the combination meter assembly, eliminate static electricity by touching the vehicle body to prevent the components from being damaged.
    1. Pull the connector lock in the direction indicated by the arrow in Fig 12, and remove the meter circuit plate.
      Fig 12: Pulling Connector Lock
      G04476233Courtesy of © TOYOTA, LICENSE AGREEMENT TMS1002
  10. REMOVE NO. 4 METER CIRCUIT PLATE 
    NOTE: When disassembling the combination meter assembly, eliminate static electricity by touching the vehicle body to prevent the components from being damaged.
    1. Pull the connector lock in the direction indicated by the arrow in Fig 13, and remove the meter circuit plate.
      Fig 13: Pulling Connector Lock
      G04476234Courtesy of © TOYOTA, LICENSE AGREEMENT TMS1002
  11. REMOVE COMBINATION METER CASE