Electrical Component Locator: Splices
SPLICES LOCATION
| Component | Location |
|---|---|
| S63/5 | In dash harness, behind left side of dash. See Figure. |
| S63/6 | In dash harness, behind left side of dash. See Figure. |
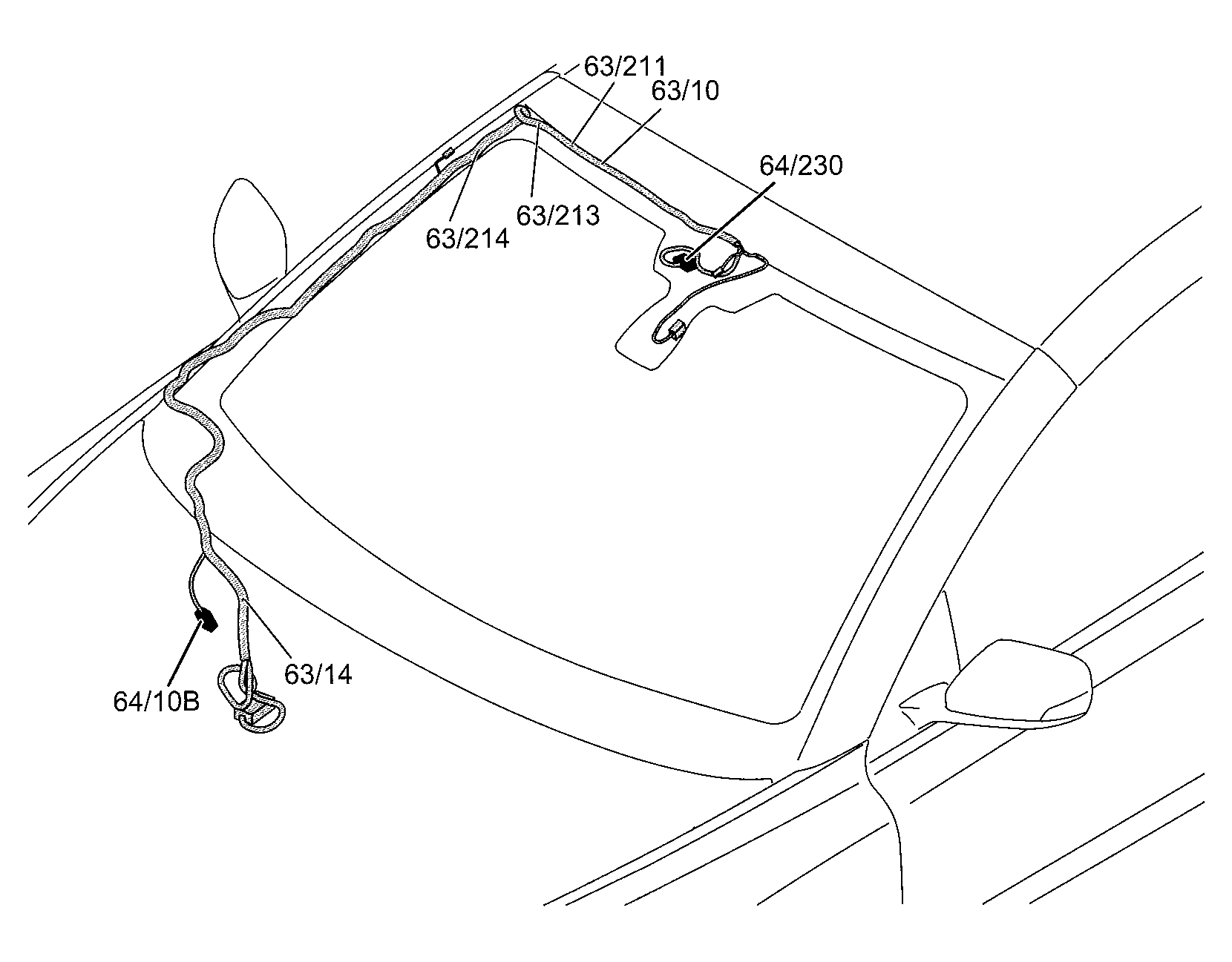
| S63/10 | In roof harness, right side of windshield header. See Figure. |
| S63/12 | In dash harness, behind right side of dash. See Figure. |
| S63/13 | In engine compartment harness, at left side of engine compartment. See Figure. |
| S63/14 | In roof harness, behind right side of dash. See Figure. |
| S63/25 | In dash harness, behind right side of dash. See Figure. |
| S63/27 | In dash harness, behind center of dash. See Figure. |
| S63/29 | In dash harness, behind center of dash. See Figure. |
| S63/40 | In passenger's door. See Figure. |
| S63/41 | In passenger's door. See Figure. |
| S63/53 | In engine harness, at rear of engine. See Figure. |
| S63/54 | In engine harness, at left rear of engine. See Figure. |
| S63/58 | In floor harness, near right "B" pillar. See Figure. |
| S63/59 | In floor harness, near right "B" pillar. See Figure. |
| S63/63 | In driver's door. See Figure. |
| S63/64 | In driver's door. See Figure. |
| S63/65 | In engine harness, at rear of engine. See Figure. |
| S63/86 | In tunnel harness, under center of vehicle. See Figure. |
| S63/91G | In engine compartment harness, at right rear of engine compartment. See Figure. |
| S63/92 | In engine compartment harness, at right rear of engine compartment. See Figure. |
| S63/93 | In engine compartment harness, right side of engine compartment. See Figure. |
| S63/98 | In engine harness, at top left of engine. See Figure. |
| S63/103 | In engine harness, at top of engine. See Figure. |
| S63/108 | In engine compartment harness, at right side of engine compartment. See Figure. |
| S63/120 | In engine compartment harness, at left side of engine compartment. See Figure. |
| S63/121 | In engine compartment harness, at left side of engine compartment. See Figure. |
| S63/124 | In engine compartment harness, at right rear of engine compartment. See Figure. |
| S63/130 | In floor harness, under center console. See Figure. |
| S63/131 | In engine compartment harness, at left rear of engine compartment. See Figure. |
| S63/132 | In engine compartment harness, at right or left rear of engine compartment. See Figure. |
| S63/135 | In floor harness, behind right kick panel. See Figure. |
| S63/139 | In dash harness, behind right end of dash. See Figure. |
| S63/170 | In floor harness, under front passenger's seat. See Figure. |
| S63/171 | In floor harness, near right "B" pillar. See Figure. |
| S63/172 | In floor harness, near left "B" pillar. See Figure. |
| S63/173 | In floor harness, near left "B" pillar. See Figure. |
| S63/195 | In passenger's door. See Figure. |
| S63/198 | In driver's door. See Figure. |
| S63/211 | In roof harness, right side of windshield header. See Figure. |
| S63/212 | In floor harness, under front passenger's seat. See Figure. |
| S63/213 | In roof harness, at top of right "A" pillar. See Figure. |
| S63/214 | In roof harness, in right "A" pillar. See Figure. |
| S63/215 | In engine compartment harness, at right front of engine compartment. See Figure. |
| S63/216 | In engine compartment harness, at right side of engine compartment. See Figure. |
| S63/217 | In floor harness, under front passenger's seat. See Figure. |
| S63/218 | In floor harness, under front passenger's seat. See Figure. |
| S63/220 | In floor harness, under driver's seat. See Figure. |
| S63/221 | In floor harness, under driver's seat. See Figure. |
| S63/222 | In engine compartment harness, at left rear of engine compartment. See Figure. |
| S63/223 | In engine compartment harness, at left rear of engine compartment. See Figure. |
| S63/226 | In engine compartment harness, at left side of engine compartment. See Figure. |
| S63/227 | In engine compartment harness, at left side of engine compartment. See Figure. |
| S63/228 | In floor harness, at left rear of luggage compartment. See Figure. |
| S63/229 | In floor harness, at left rear of luggage compartment. See Figure. |
| S63/231 | In engine compartment harness, at left side of engine compartment. See Figure. |
| S63/232 | In floor harness, under front passenger's seat. See Figure. |
| S63/233 | In floor harness, under front passenger's seat. See Figure. |
| S63/277 | In floor harness, near left "B" pillar. See Figure. |
| S63/339 | In dash harness, behind left side of dash. See Figure. |
| S63/340 | In floor harness, at left rear of vehicle. See Figure. |
| S63/504 | In floor harness, behind right kick panel. See Figure. |