Electrical Component Locator: Splices
SPLICES LOCATION
| Component | Location |
|---|---|
| JX200 (Base) (5) | Upper left corner of the passenger compartment, behind the I/P. See Figure. |
| JX200 (Escalade) (1) | Upper left corner of the passenger compartment, behind the I/P. See Figure. |
| JX201 | Upper left corner of the passenger compartment, behind I/P. |
| JX300 (Except One Piece Liftgate W/Liftglass) (12) | Bottom of driver side "B" pillar, behind trim panel. See Figure. |
| JX300 (Long Wheel Base) (13) | Bottom of driver side "B" pillar, behind trim panel. See Figure. |
| JX300 (Short Wheel Base) (12) | Bottom of driver side "B" pillar, behind trim panel. See Figure. |
| J100 (Avalanche, Suburban & Tahoe) (10) | In forward lamp harness. See Figure. |
| J100 (Yukon) (11) | In forward lamp harness. See Figure. |
| J101 (Avalanche, Suburban & Tahoe) (8) | In forward lamp harness. See Figure. |
| J101 (Escalade) (8) | In forward lamp harness. See Figure. |
| J101 (Yukon) (9) | In forward lamp harness. See Figure. |
| J102 (12) | In left foglight harness. See Figure. |
| J103 (6) | In right foglight harness. See Figure. |
| J104 (6) | In engine harness, approximately 15 cm (5.91 in) from engine control module connector breakout. See Figure. |
| J105 (3) | In engine harness, approximately 12 cm (4.72 in) from engine coolant temperature (ECT) sensor breakout. See Figure. |
| J106 (3) | In engine harness, approximately 23 cm (9.02 in) from manifold absolute pressure sensor breakout. See Figure. |
| J107 (2) | In ignition coil jumper harness, approximately 3 cm (1.18 in) from ignition coil 5 breakout. See Figure. |
| J108 (3) | In ignition coil jumper harness, approximately 3 cm (1.18 in) from ignition coil 5 breakout. See Figure. |
| J109 (5) | In ignition coil jumper harness, approximately 5 cm (1.97 in) from C111 breakout. See Figure. |
| J110 (7) | In ignition coil jumper harness, approximately 3 cm (1.18 in) from ignition coil 4 breakout. See Figure. |
| J111 (6) | In ignition coil jumper harness, approximately 3 cm (1.18 in) from ignition coil 4 breakout. See Figure. |
| J112 (9) | In ignition coil jumper harness, approximately 5 cm (1.97 in) from C111 breakout. See Figure. |
| J113 (8) | In instrument panel harness, at C103 breakout. See Figure. |
| J114 | In headlight assembly. |
| J115 | In headlight assembly. |
| J116 | In automatic transmission harness. |
| J117 | In headlight harness. |
| J118 | In headlight harness. |
| J119 | In headlight harness. |
| J120 | In headlight harness. |
| J121 | In headlight harness. |
| J122 | In headlight harness. |
| J123 | In front foglight jumper harness. |
| J124 | In headlight harness. |
| J125 | In headlight harness. |
| J126 | In automatic transmission harness. |
| J200 (Escalade) (4) | In instrument panel harness, approximately 14 cm (5.51 in) from left I/P junction block breakout. See Figure. |
| J200 (3) | In instrument panel harness, approximately 14 cm (5.51 in) from left I/P junction block breakout. See Figure. |
| J201 (Base) (1) | In instrument panel harness, approximately 6 cm (2.36 in) from breakout to headlight & panel dimmer switch. See Figure. |
| J201 (Escalade) (3) | In instrument panel harness, approximately 21 cm (8.27 in) from headlight & panel dimmer switch breakout. See Figure. |
| J202 (11) | In instrument panel harness, in radio connector breakout. See Figure. |
| J203 (Base) (11) | In instrument panel harness, approximately 13 cm (5.12 in) from radio connector breakout. See Figure. |
| J203 (Escalade) (12) | In instrument panel harness, approximately 4 cm (1.57 in) after radio connector breakout. See Figure. |
| J204 (Escalade) (13) | In instrument panel harness, approximately 10 cm (3.04 in) after radio connector breakout. See Figure. |
| J204 (Except Tahoe & Escalade) | In instrument panel harness, approximately 19 cm (7.48 in) after radio connector breakout. |
| J205 (Base) | In instrument panel harness, approximately 12 cm (4.72 in) from inflatable restraint I/P module connector breakout. |
| J205 (Escalade) (14) | In instrument panel harness, approximately 19 cm (7.48 in) before C206 breakout. See Figure. |
| J206 (12) | In instrument panel harness, approximately 14 cm (5.51 in) from C207 breakout. See Figure. |
| J207 (2) | In instrument panel harness, in transfer case shift control module connector breakout. See Figure. |
| J208 | In instrument panel harness, approximately 7 cm (2.76 in) from headlight & panel dimmer switch breakout. |
| J209 | In fuse block jumper harness. |
| J210 | In fuse block jumper harness. |
| J211 | In fuse block jumper harness. |
| J212 | In steering column harness. |
| J213 | In steering column harness. |
| J214 | In steering wheel harness. |
| J215 | In steering column harness. |
| J216 | In steering column harness. |
| J217 | In steering wheel harness. |
| J218 | In steering wheel harness. |
| J300 (Except One Piece Liftgate W/Liftglass) (12) | In chassis harness, approximately 15 cm (5.91 in) from G300. See Figure. |
| J300 (Long Wheel Base) (11) | In chassis harness, approximately 15 cm (5.91 in) from G300. See Figure. |
| J300 (Short Wheel Base) (4) | In chassis harness, approximately 15 cm (5.91 in) from G300. See Figure. |
| J301 (Except One Piece Liftgate W/Liftglass) (10) | In chassis harness, approximately 5 cm (1.97 in) from G305 breakout. See Figure. |
| J301 (Long Wheel Base) (9) | In chassis harness, approximately 5 cm (1.97 in) from G305 breakout. See Figure. |
| J301 (Short Wheel Base) (13) | In chassis harness, approximately 5 cm (1.97 in) from G305 breakout. See Figure. |
| J302 (Except One Piece Liftgate W/Liftglass) (23) | In body harness, approximately 22 cm (8.66 in) from G301 breakout. See Figure. |
| J302 (Long Wheel Base) (8) | In body harness, approximately 22 cm (8.66 in) from G301 breakout. See Figure. |
| J302 (Short Wheel Base) (8) | In body harness, approximately 22 cm (8.66 in) from G301 breakout. See Figure. |
| J303 (Except One Piece Liftgate W/Liftglass) (21) | In body harness, approximately 30 cm (11.8 in) from G301 breakout. See Figure. |
| J303 (Long Wheel Base) (9) | In body harness, approximately 30 cm (11.8 in) from G301 breakout. See Figure. |
| J303 (Short Wheel Base) (9) | In body harness, approximately 30 cm (11.8 in) from G301 breakout. See Figure. |
| J304 | In body harness, approximately 14 cm (5.51 in) from passenger seat inline connector breakout. |
| J304 | In body harness, approximately 14 cm (5.51 in) from passenger seat inline connector breakout. |
| J304 (Except One Piece Liftgate W/Liftglass) (2) | In body harness, approximately 14 cm (5.51 in) from passenger seat inline connector breakout. See Figure. |
| J305 (Bucket Seat) (1) | In driver seat harness, approximately 5 cm (1.97 in) in to C303 breakout. See Figure. |
| J305 (Except Bucket Seat) (1) | In driver seat harness, approximately 12 cm (4.72 in) from seat belt switch breakout. See Figure. |
| J305 (Power Bucket Seat) (6) | In driver seat harness, approximately 3 cm (1.19 in) from recliner motor breakout. See Figure. |
| J306 (11) | In driver seat harness, approximately 20 cm (7.87 in) from C303. See Figure. |
| J307 (9) | In driver seat harness, approximately 20 cm (7.87 in) into C303 breakout. See Figure. |
| J308 (10) | In driver seat harness, approximately 10 cm (3.94 in) into C303 breakout. See Figure. |
| J309 (8) | In driver seat harness, approximately 6 cm (2.36 in) from C303 breakout. See Figure. |
| J310 (7) | In driver seat harness, approximately 5 cm (1.97 in) from recliner motor breakout. See Figure. |
| J311 (5) | In driver seat harness, approximately 5 cm (1.97 in) from memory seat module C5 breakout. See Figure. |
| J312 (4) | In driver seat harness, approximately 5 cm (1.97 in) from memory seat module C5 breakout. See Figure. |
| J313 (Except Power Front Seat) (7) | In passenger seat harness, approximately 28 cm (11 in) from seat belt switch breakout. See Figure. |
| J313 (Power Front Seat) (7) | In passenger seat harness, approximately 15 cm (5.91 in) from C305. See Figure. |
| J314 (8) | In passenger seat harness, approximately 20 cm (7.87 in) from C305. See Figure. |
| J315 (9) | In the passenger seat harness, approximately 10 cm (3.94 in) into C305 breakout. See Figure. |
| J316 (10) | In passenger seat harness, approximately 5 cm (1.97 in) from C305 breakout. See Figure. |
| J317 (5) | In passenger seat harness, approximately 15 cm (5.9 in) from lumbar motor breakout. See Figure. |
| J318 (4) | In passenger seat harness, approximately 10 cm (3.94 in) from lumbar motor breakout. See Figure. |
| J319 | In rear seat harness, approximately 5 cm (1.97 in) from heated seat module breakout. |
| J320 | In rear seat harness, approximately 15 cm (5.91 in) from heated seat element breakout. |
| J321 | In rear seat harness, approximately 10 cm (3.91 in) from heated seat element breakout. |
| J322 | In overhead console harness, approximately 5 cm (1.97 in) from C304 breakout. |
| J323 | In overhead console harness, approximately 4 cm (1.57 in) from C304 breakout. |
| J324 | In sunroof harness, approximately 3 cm (1.19 in) from sunroof switch breakout. |
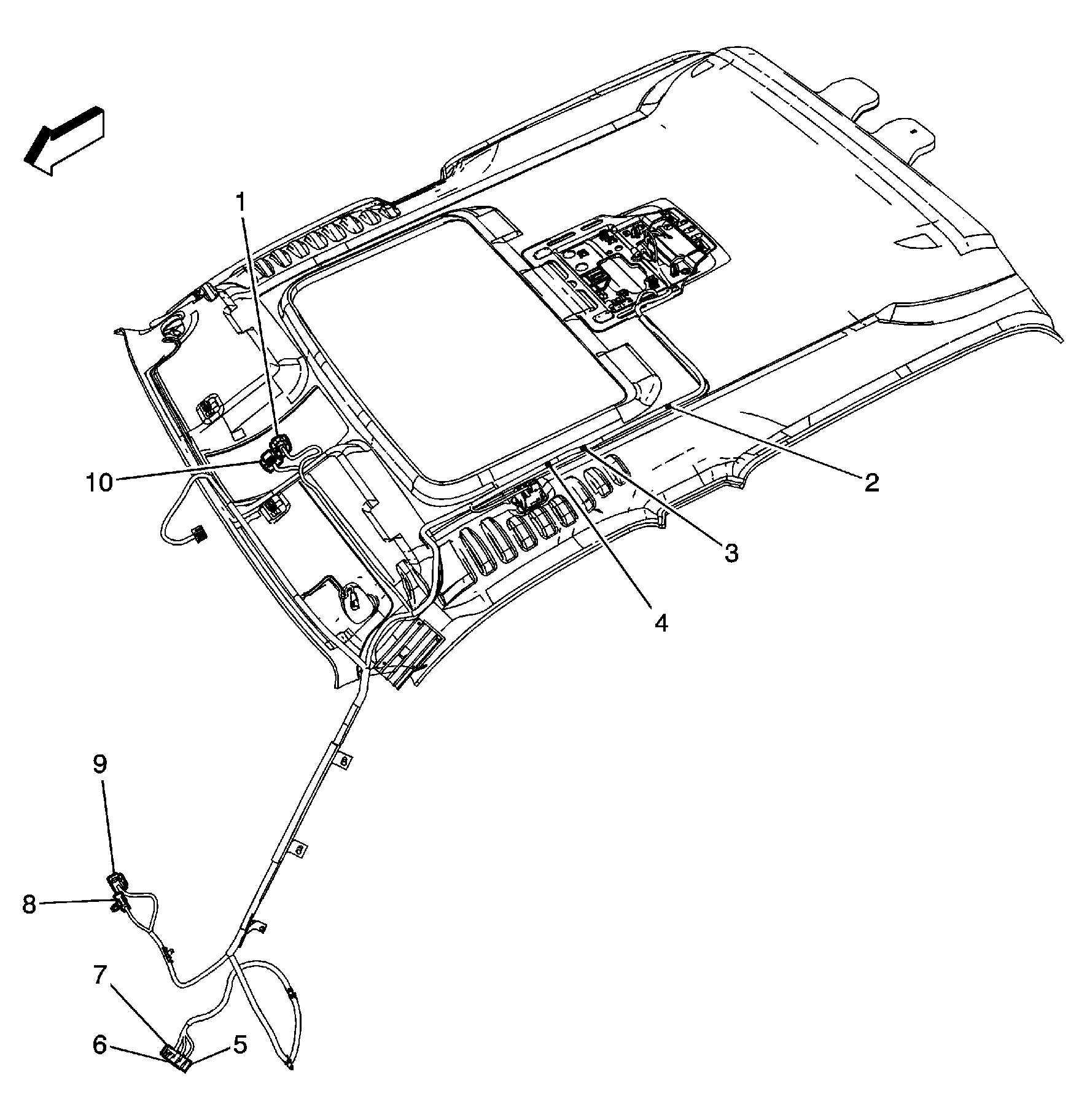
| J325 (4) | In headliner harness, approximately 35 cm from inside air temperature sensor - front breakout. See Figure. |
| J326 (2) | In headliner harness, approximately 25 cm from inside air temperature sensor - front breakout. See Figure. |
| J327 (3) | In headliner harness, approximately 15 cm from inside air temperature sensor - front breakout. See Figure. |
| J328 (4) | In headliner harness, approximately 5 cm from inside air temperature sensor - front breakout. See Figure. |
| J329 (3) | In headliner harness, approximately 18 cm from courtesy/reading lamps - 2nd row breakout. See Figure. |
| J330 (3) | In center console harness, approximately 12 cm from audio amplifier breakout. See Figure. |
| J331 (Except One Piece Liftgate W/Liftglass) (2) | In chassis harness. See Figure. |
| J331 (Long Wheel Base) (8) | In chassis harness. See Figure. |
| J331 (Short Wheel Base) (6) | In chassis harness. See Figure. |
| J332 | In body harness, approximately 13 cm into C310 breakout. |
| J333 | In chassis harness, approximately 14 cm into C310 breakout. |
| J400 (Long Wheel Base) (6) | In body harness, approximately 23 cm (9.06 in) from G402 breakout. See Figure. |
| J400 (Short Wheel Base) (4) | In body harness, approximately 23 cm (9.06 in) from G402 breakout. See Figure. |
| J401 | In license lamp harness, approximately 12 cm from license lamp - right breakout. |
| J402 | In license lamp harness, approximately 23 cm (9.06 in) from license lamp - left breakout. |
| J403 | In license lamp harness, approximately 28 cm from left rear object sensors. |
| J404 | In license lamp harness, approximately 20 cm from right rear object sensors. |
| J405 | In right tail lamp harness. |
| J406 | In right tail lamp harness. |
| J407 | In chassis harness, approximately 18.5 cm into C411 breakout. |
| J408 | In endgate harness, approximately 13 cm from C409. |
| J409 | In endgate harness, approximately 2.5 cm from rear view camera breakout. |
| J500 | In driver outside rearview mirror jumper. |
| J501 | In driver outside rearview mirror jumper. |
| J600 | In passenger outside rearview mirror jumper. |
| J601 | In passenger outside rearview mirror jumper. |
| J900 (2) | In liftgate harness, approximately 25 cm from rear window defogger connector C1. See Figure. |
| J901 (10) | In liftgate harness, approximately 2 cm from rear window defogger connector C2 breakout. See Figure. |
| J902 (8) | In liftgate harness, approximately 22 cm from liftgate latch assembly breakout. See Figure. |
| J903 (7) | In liftgate harness, approximately 15 cm from liftgate latch assembly breakout. See Figure. |
| J904 (6) | In liftgate harness, approximately 7 cm from liftgate latch assembly breakout. See Figure. |
| J905 | In license lamp harness. |
| J906 | In license lamp harness. |
| J907 | In license lamp harness, approximately 5.5 cm from C900 breakout. |
| J908 | In license lamp harness, approximately 11 cm from C900 breakout. |
| J909 | In tailgate harness, approximately 7 cm from rear wiper motor breakout. |