lemon-mirror:
Home >> Mazda >> 2002 >> Protege5 Automatic >> Repair and Diagnosis >> Engine Mechanical >> Engine Mechanical 2.0L >> Cylinder Block Disassembly/Assembly >> Assembly Notes >> Main Bearing Cap Assembly Note

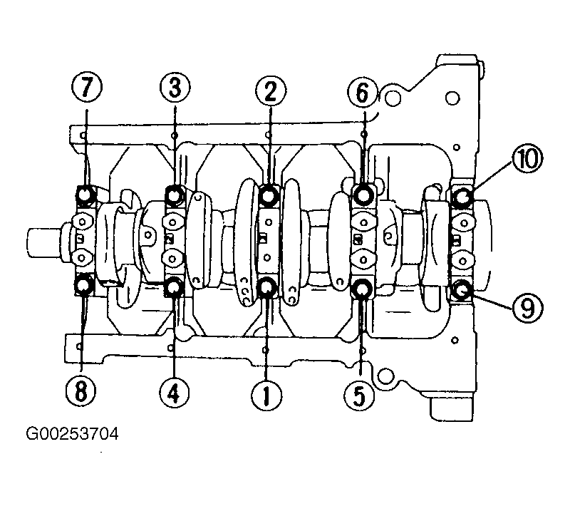
Main Bearing Cap Assembly Note

  1. Inspect main bearing cap bolts. See MAIN BEARING CAP BOLT INSPECTION .
  2. Tighten bolts to specification in the order shown. See Figure. See TORQUE SPECIFICATIONS .
  3. Put a paint mark on each bolt head.
  4. Using the mark as a reference, tighten bolts by turning each an additional 85-90 degrees in tightening sequence.