lemon-mirror:
Home >> Pontiac >> 2007 >> Solstice Base, Automatic >> Repair and Diagnosis >> Body & Frame >> Mirrors >> Mirror System >> Component Locator >> Mirror Component Views

Mirror Component Views

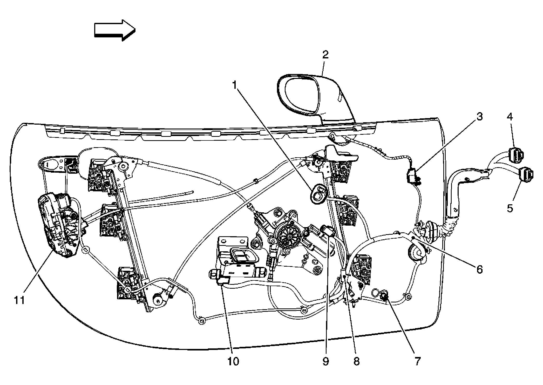
Fig 1: Driver Door Components (1 of 2)
GM1631586Courtesy of GENERAL MOTORS CORP.
Callouts For Fig 1

Callout Component Name
1 Door Lock Actuator - Driver
2 Window Switch - Driver (A31)
3 Outside Rearview Mirror - Driver (D48)
4 Outside Rearview Mirror Switch (D48)
5 Speaker - LF Door
6 C166
7 C165
8 Window Motor - Driver (A31)
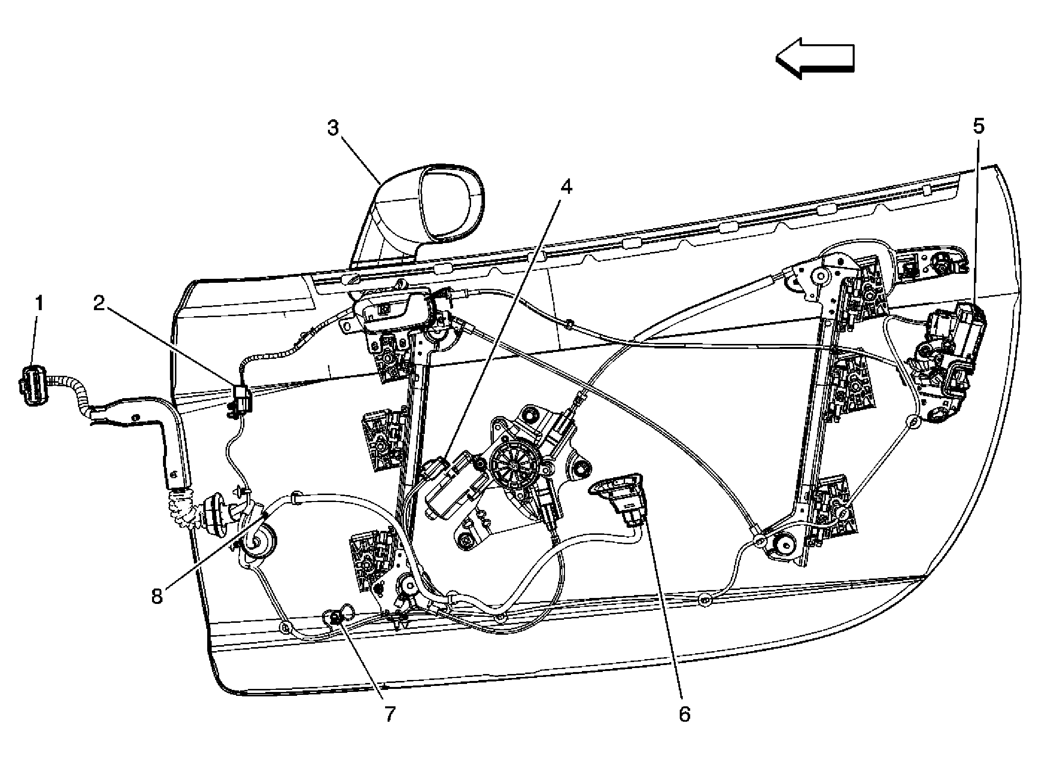
Fig 2: Driver Door Components (2 of 2)
GM1583482Courtesy of GENERAL MOTORS CORP.
Callouts For Fig 2

Callout Component Name
1 Outside Rearview Mirror Switch
2 Outside Rearview Mirror - Driver
3 Outside Rearview Mirror Connector - Driver
4 C166
5 C165
6 S501
7 Speaker Connector - LF Door
8 S500
9 Window Motor - Driver
10 Window Switch - Driver
11 Door Lock Actuator - Driver
Fig 3: Passenger Door Components (1 of 2)
GM1631585Courtesy of GENERAL MOTORS CORP.
Callouts For Fig 3

Callout Component Name
1 Speaker - RF Door
2 Outside Rearview Mirror - Passenger (D48)
3 Door Lock Actuator - Passenger
4 Window Switch - Passenger (A31)
5 Window Motor - Passenger (A31)
6 C167
Fig 4: Passenger Door Components (2 of 2)
GM1583492Courtesy of GENERAL MOTORS CORP.
Callouts For Fig 4

Callout Component Name
1 C167
2 Outside Rearview Mirror Connector - Passenger
3 Outside Rearview Mirror - Passenger
4 Window Motor - Passenger
5 Door Lock Actuator - Passenger
6 Window Switch - Passenger
7 Speaker Connector - RF Door
8 S600