lemon-mirror:
Home >> Cadillac >> 2000 >> DeVille Base >> Repair and Diagnosis >> Body & Frame >> Body, Cab Control Systems >> Body Control Modules >> Self-Diagnostic System >> Scan Tool Does Not Communicate With Class 2 Device >> Testing

Scan Tool Does Not Communicate With Class 2 Device: Testing

  1. Connect scan tool to Data Link Connector. See Figure . If scan tool powers up, go to next step. If scan tool does not power up, go to SCAN TOOL DOES NOT POWER UP  .
  2. Turn ignition on. Attempt to communicate with each module on class 2 serial data line. If using a Tech 2, use CLASS 2 MESSAGE MONITOR feature. If scan tool communicates with any module, go to next step. If scan tool does not communicate with any modules along class 2 serial data line, go to step  6 .
  3. Using scan tool select display DTC function for each module. If using a Tech 2, use the CLASS 2 DTC CHECK feature to determine which modules have set DTCs. Record all displayed DTCs, DTC status and module which DTC is set. If any DTCs between U1000 and U1255 are set, go to next step. If no DTCs between U1000 and U1255 are set, go to step  5 .
  4. If only DTC U1000 and U1255 are displayed, go to DTC U1000 & DTC U1255 CLASS 2 COMMUNICATION MALFUNCTION  . If DTC U1000 and U1255 are not displayed, go to DTC U1001-U1254 LOSS OF COMMUNICATIONS WITH XXX  .
  5. Go to DTC U1001-U1254 LOSS OF COMMUNICATIONS WITH XXX  and diagnose module which is not communicating. After repairs, go to BODY CONTROL SYSTEM DIAGNOSTIC SYSTEM CHECK  . If referred from another article, return to that article and perform diagnostic system check.
  6. Turn ignition off. Disconnect scan tool. Check for poor connections at DLC terminals No. 2 and 5. If connections are okay, go to next step. If faulty connections are found and repaired, go to BODY CONTROL SYSTEM DIAGNOSTIC SYSTEM CHECK  . If referred from another article, return to that article and perform diagnostic system check.
  7. Check for open in Black/White wire between DLC terminal No. 5 and ground. If circuit is okay, go to next step. If faulty circuit is found and repaired, go to BODY CONTROL SYSTEM DIAGNOSTIC SYSTEM CHECK  . If referred from another article, return to that article and perform diagnostic system check.
  8. Check for open in Purple wire between DLC terminal No. 2 and connector C200. C200 is located under left side of instrument panel near park brake pedal. If circuit is okay, go to next step. If faulty circuit is found and repaired, go to BODY CONTROL SYSTEM DIAGNOSTIC SYSTEM CHECK  . If referred from another article, return to that article and perform diagnostic system check.
  9. Turn ignition off. Disconnect splice pack SP300. SP300 is located under left side of rear seat cushion. See Figure . Turn ignition on. Attempt to communicate with any module still connected to the DLC through the class 2 serial data line. If scan tool does not communicate with any module, go to next step. If scan tool communicates with any module, go to step  11 .
  10. Turn ignition off. Disconnect splice pack SP304. SP304 is located in right rear of passenger compartment, taped to body harness, approximately 9.5" (24 cm) from cross car channel. Turn ignition on. Attempt to communicate with any module still connected to the DLC through the class 2 serial data line. If scan tool communicates with any module, go to step  34 . If scan tool does not communicate with any module, go to step  60 .
  11. Turn ignition off. Using the correct terminal adapter from terminal kit J35616-A, connect a jumper wire between splice pack SP300 Purple wire terminals "A" and "C". Turn ignition on. Attempt to communicate with Passenger's Front Door Module (PFDM). If scan tool does not communicate with PFDM, go to next step. If scan tool communicates with PFDM, go to step  17 .
  12. Turn ignition off. Remove passenger's door panel. Disconnect PFDM connectors. PFDM is located at front of passenger's door. Turn ignition on. Attempt to communicate with any module still connected to the DLC through the class 2 serial data line. If scan tool communicates with any module, go to next step. If scan tool does not communicate with any module, go to step  16 .
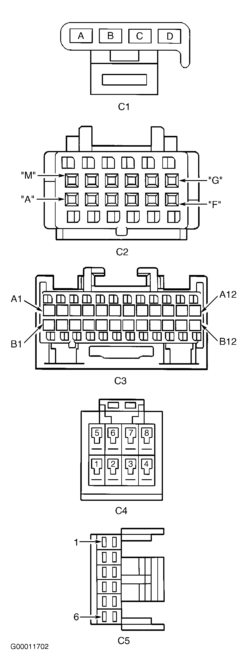
  13. If this is a factory armored vehicle (B05), go to next step. If this is not a factory armored vehicle, go to step  76 .
  14. Turn ignition off. Reconnect PFDM connectors. Disconnect passenger front power window switch connector. Turn ignition on. Attempt to communicate with PFDM. If scan tool does not communicate with PFDM, go to next step. If scan tool communicates with PFDM, go to step  76 .
  15. Turn ignition off. Disconnect PFDM connectors. Turn ignition on. Check for short to ground or short to voltage in Purple wire between PFDM connector C2 terminal "F" and passenger's front window switch connector terminal No. 10. See Fig 1 and Fig 2 . If circuit is okay, go to step  76 . If faulty circuit is found and repaired, go to step  78 .
  16. Turn ignition on. Check for short to ground or short to voltage in Purple wire between PFDM connector C2 terminal "F" and SP300 terminal "A". See Fig 1 . If circuit is okay, go to DIAGNOSTIC AIDS  . If faulty circuit is found and repaired, go to step  78 .
  17. Turn OFF the ignition. Disconnect jumper wire from terminal "A" (Purple wire) of splice pack SP300 and connect to terminal "B" (Purple wire). Turn ignition on. Attempt to communicate with Right Rear Door Module (RRDM). If scan tool does not communicate with RRDM, go to next step. If scan tool communicates with RRDM, go to step  19 .
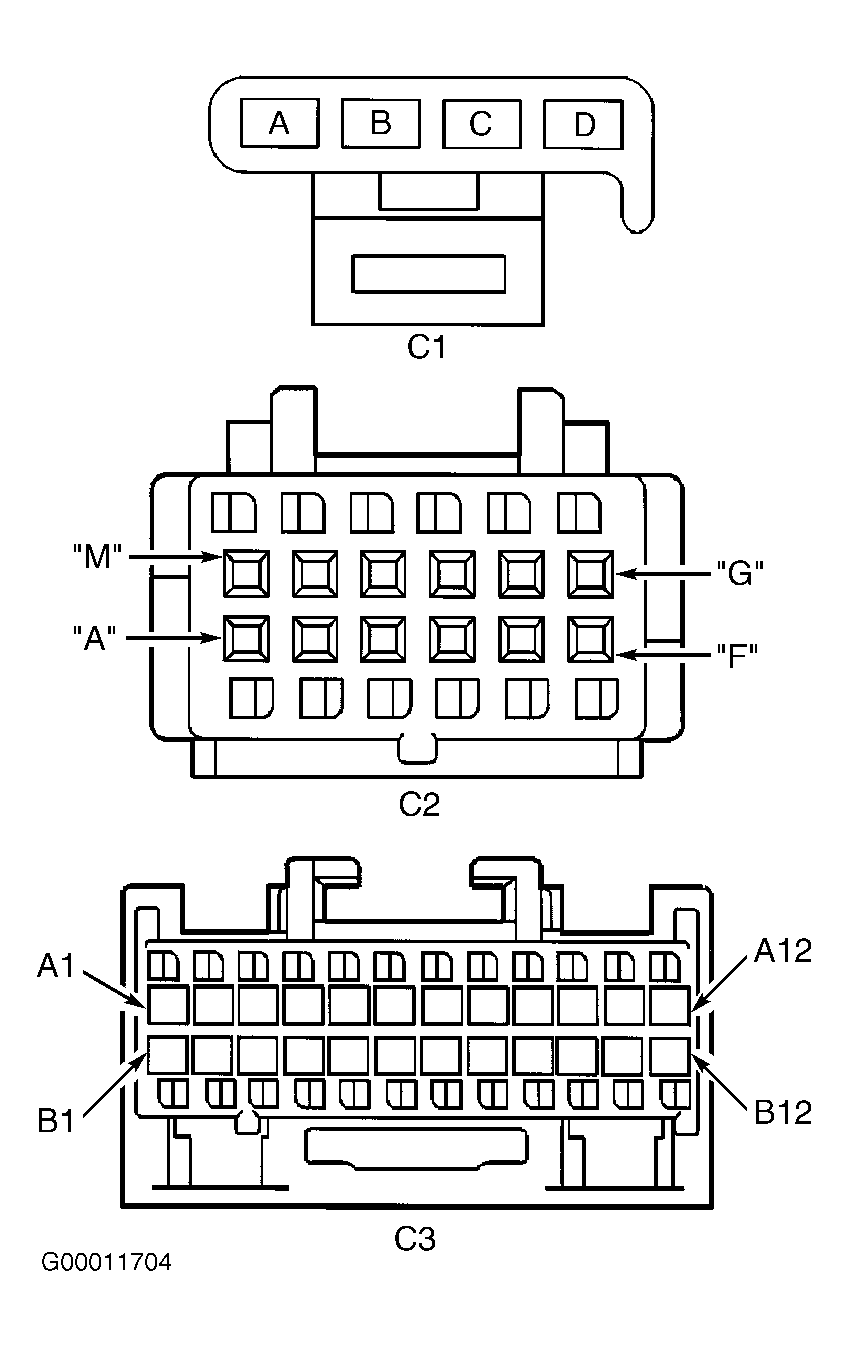
  18. Turn ignition off. Remove right rear door panel. Disconnect RRDM connectors. Turn ignition on. Check for short to ground or short to voltage in Purple wire between RRDM connector C2 terminal "G" and SP300 terminal "B". See Fig 3 . If circuit is okay, go to step  76 . If faulty circuit is found and repaired, go to step  78 .
    Fig 1: Identifying Front Door Module Connectors & Terminals
    G00011702Courtesy of GENERAL MOTORS CORP.
    Fig 2: Identifying Passenger's Front Power Window Switch Connector Terminals
    G00011703Courtesy of GENERAL MOTORS CORP.
    Fig 3: Identifying Middle & Rear Door Module Connectors & Terminals
    G00011704Courtesy of GENERAL MOTORS CORP.
  19. Turn ignition off. Disconnect jumper wire from terminal "B" of splice pack SP300 and connect to terminal "D". Turn ignition on. Attempt to communicate with Sensing and Diagnostic Module (SDM) located under rear of center console, mounted to floor. If scan tool does not communicate with SDM, go to next step. If scan tool communicates with SDM, go to step  21 .
  20. Turn ignition off. Remove center console. Disconnect SDM connector. Turn ignition on. Check for short to ground or short to voltage in Purple wire between SDM connector terminal A4 and SP300 terminal "D". See Fig 4 . If circuit is okay, go to step  76 . If faulty circuit is found and repaired, go to step  78 .
  21. Turn ignition off. Disconnect jumper wire from terminal "D" of splice pack SP300 and connect to terminal "E". Turn ignition on. Attempt to communicate with Rear Integration Module (RIM). If scan tool does not communicate with RIM, go to next step. If scan tool communicates with RIM, go to step  23 .
  22. Turn ignition off. Disconnect RIM connectors. See Figure . Turn ignition on. Check for short to ground or short to voltage in Purple wire between RIM connector C2 terminal A12 and SP300 terminal "E". See Fig 5 . If circuit is okay, go to step  76 . If faulty circuit is found and repaired, go to step  78 .
  23. Turn ignition off. Disconnect jumper wire from terminal "E" of splice pack SP300 and connect to terminal "G". Turn ignition on. Attempt to communicate with Electronic Suspension Control (ESC) module. If scan tool does not communicate with ESC, go to next step. If scan tool communicates with ESC, go to step  26 .
  24. Turn ignition off. Disconnect ESC module connectors. ESC module is located behind rear seat back on right side of bay board. Turn ignition on. Check for short to ground or short to voltage in Purple wire between ESC module connector C2 terminal D4 and SP300 terminal "G". See Fig 6 . If circuit is okay, go to step  76 . If faulty circuit is found and repaired, go to step  78 .
    Fig 4: Identifying Sensing & Diagnostic Module Connector Terminals
    G00011705Courtesy of GENERAL MOTORS CORP.
    Fig 5: Identifying Rear Integration Module & Instrument Cluster Connectors & Terminals
    G00011706Courtesy of GENERAL MOTORS CORP.
    Fig 6: Identifying Electronic Suspension Control Module Connectors & Terminals
    G00011707Courtesy of GENERAL MOTORS CORP.
  25. If vehicle is equipped with cellular phone or On-Star(R) system, go to next step. If vehicle is not equipped with cellular phone or On-Star(R) system, go to step  28 .
  26. Turn ignition off. Disconnect jumper wire from terminal "G" of splice pack SP300 and connect to terminal "H". Turn ignition on. Attempt to communicate with cellular telephone module and/or Vehicle Interface Unit (VIU) if equipped. If scan tool does not communicate with cellular telephone module and/or VIU, go to next step. If scan tool communicates with cellular telephone module and/or VIU, go to step  29 .
  27. Turn ignition off. Disconnect cellular telephone module and/or VIU located behind rear seat, if equipped. See Figure . Turn ignition on. Check for short to ground or short to voltage in Purple wire between cellular telephone module connector terminal E2 and SP300 terminal "H". See Fig 7 . Check for short to ground or short to voltage in Purple wire between VIU connector C2 terminal A2 and SP300 terminal "H". If circuit is okay, go to step  76 . If faulty circuit is found and repaired, go to step  78 .
  28. If vehicle is equipped with navigation system (w/UY4), go to next step. If vehicle is not equipped with navigation system, go to step  31 .
  29. Turn ignition off. Disconnect jumper wire from terminal "H" of splice pack SP300 and connect to terminal "J". Turn ignition on. Attempt to communicate with navigation data processor. If scan tool does not communicate with navigation data processor, go to next step. If scan tool communicates with navigation data processor, go to step  32 .
  30. Turn ignition off. Disconnect navigation data processor connector located in center of instrument panel, above IPM. See Figure . Turn ignition on. Check for short to ground or short to voltage in Purple wire between navigation data processor connector terminal A3 and SP300 terminal "J". See Fig 8 . If circuit is okay, go to step  76 . If faulty circuit is found and repaired, go to step  78 .
    Fig 7: Identifying Cellular Telephone & Vehicle Interface Unit (On-Star(R)) Connectors & Terminals
    G00011708Courtesy of GENERAL MOTORS CORP.
    Fig 8: Identifying Navigation System Connectors & Terminals
    G00011709Courtesy of GENERAL MOTORS CORP.
  31. If vehicle is a factory limousine, go to next step. If vehicle is not a factory limousine, go to step  34 .
  32. Turn ignition off. Disconnect jumper wire from terminal "J" of splice pack SP300 and connect to terminal "K". Turn ignition on. Attempt to communicate with Right Middle Door Module (RMDM). If scan tool does not communicate with RMDM, go to next step. If scan tool communicates with RMDM, go to step  34 .
  33. Turn ignition off. Remove right middle door panel. Disconnect RMDM connector located in right middle door. Turn ignition on. Check for short to ground or short to voltage in Purple wire between RMDM connector C2 terminal "G" and SP300 terminal "K". See Fig 3 . If circuit is okay, go to step  76 . If faulty circuit is found and repaired, go to step  78 .
  34. Turn ignition off. Using correct terminal adapter from terminal kit J35616-A, connect a jumper wire between splice pack SP304 terminals "A" and "B". See Figure . Turn ignition on. Attempt to communicate with radio amplifier. If scan tool does not communicate with radio amplifier, go to next step. If scan tool communicates with radio amplifier, go to step  36 .
  35. Turn ignition off. Disconnect radio amplifier connector. See Fig 9 . Turn ignition on. Check for short to ground or short to voltage in Purple wire between radio amplifier connector C3 terminal No. 5 (U57) or terminal B11 (UX8) and SP304 terminal "B". See Fig 10 . If circuit is okay, go to step  76 . If faulty circuit is found and repaired, go to step  78 .
  36. Turn ignition off. Disconnect jumper wire from terminal "B" of splice pack SP304 and connect to terminal "C". Turn ignition on. Attempt to communicate with Remote Function Actuator (RFA). If scan tool does not communicate with RFA, go to next step. If scan tool communicates with RFA, go to step  38 .
  37. Turn ignition off. Disconnect RFA connector. See Fig 11 . If vehicle is a hearse (BQ9), RFA is located in left rear corner of vehicle, above left rear wheel well. Turn ignition on. On all vehicles, check for short to ground or short to voltage in Purple wire between RFA connector terminal No. 2 (sedan) or 3 (BQ9) and SP304 terminal "C". See Fig 12 . If circuit is okay, go to step  76 . If faulty circuit is found and repaired, go to step  78 .
  38. Turn ignition off. Disconnect jumper wire from terminal "C" of splice pack SP304 and connect to terminal "D". Turn ignition on. Attempt to communicate with the theft deterrent module. If scan tool does not communicate with theft deterrent module, go to next step. If scan tool communicates with theft deterrent module, go to step  40 .
  39. Turn ignition off. Disconnect theft deterrent module connector. See Figure . Turn ignition on. Check for short to ground or short to voltage in Purple wire between theft deterrent module connector terminal "C" and SP304 terminal "D". See Fig 13 . If circuit is okay, go to step  76 . If faulty circuit is found and repaired, go to step  78 .
    Fig 9: Locating Radio Amplifier
    G00011710Courtesy of GENERAL MOTORS CORP.
    Fig 10: Identifying Radio Amplifier Connectors & Terminals
    G00011711Courtesy of GENERAL MOTORS CORP.
    Fig 11: Locating Remote Function Actuator (Sedan)
    G00011712Courtesy of GENERAL MOTORS CORP.
    Fig 12: Identifying Remote Function Actuator Connector Terminals
    G00011713Courtesy of GENERAL MOTORS CORP.
    Fig 13: Identifying Theft Deterrent Module Connector Terminals
    G00011714Courtesy of GENERAL MOTORS CORP.
  40. Turn ignition off. Disconnect jumper wire from terminal "D" of splice pack SP304 and connect to terminal "E". Turn ignition off. Attempt to communicate with Left Rear Door Module (LRDM). If scan tool does not communicate with LRDM, go to next step. If scan tool communicates with LRDM, go to step  42 .
  41. Turn ignition off. Remove left rear door panel. Disconnect LRDM connectors. Turn ignition on. Check for short to ground or short to voltage in Purple wire between LRDM connector C2 terminal "G" and SP304 terminal "E". See Fig 3 . If circuit is okay, go to step  76 . If faulty circuit is found and repaired, go to step  78 .
  42. Turn ignition off. Disconnect jumper wire from terminal "E" of splice pack SP304 and connect to terminal "F". Turn ignition on. Attempt to communicate with Driver's Door Module (DDM). If scan tool does not communicate with DDM, go to next step. If scan tool communicates with DDM, go to step  48 .
  43. Turn ignition off. Remove driver's door panel. Disconnect DDM connectors. Turn ignition on. Attempt to communicate with any module still connected to DLC through class 2 serial data line. If scan tool communicates with any module, go to next step. If scan tool does not communicate with any module, go to step  46 .
  44. Turn ignition off. Reconnect DDM connectors. Disconnect Driver's Door Switch Assembly (DDSA). Turn ignition on. Attempt to communicate with DDM. If scan tool does not communicate with DDM, go to next step. If scan tool communicates with DDM, go to step  76 .
  45. Turn ignition off. Disconnect DDM connectors. Turn ignition on. Check for short to ground or short to voltage in Purple wire between DDM connector C2 terminal "F" and DDSA connector terminal No. 10. See Fig 1 and Fig 14 . If circuit is okay, go to step  76 . If faulty circuit is found and repaired, go to step  78 .
  46. Turn ignition on. Check for short to ground or short to voltage in Purple wire between DDM connector C2 terminal "G" and splice pack SP304 terminal "F". If faulty circuit is found and repaired, go to step  78 . If circuit is okay, go to DIAGNOSTIC AIDS  .
  47. If vehicle is equipped with navigation system (w/UY4), go to next step. If vehicle is not equipped with navigation system, go to step  50 .
  48. Turn ignition off. Disconnect jumper wire from terminal "F" of splice pack SP304 and connect to terminal "G". Turn ignition on. Attempt to communicate with radio (w/UY4). If scan tool does not communicate with radio, go to next step. If scan tool communicates with radio, go to step  50 .
  49. Turn ignition off. Remove radio and disconnect radio connectors (w/UY4). Turn ignition on. Check for short to ground or short to voltage in Purple wire between radio connector C1 terminal E6 and splice pack SP304 terminal "G". See Fig 15 . If circuit is okay, go to step  76 . If faulty circuit is found and repaired, go to step  78 .
  50. Turn ignition off. Disconnect jumper wire from terminal "G" of splice pack SP304 and connect to terminal "H". Turn ignition on. Attempt to communicate with rear A/C-heater control. If scan tool does not communicate with rear A/C-heater control, go to next step. If scan tool communicates with rear A/C-heater control, go to step  53 .
  51. Turn ignition off. Disconnect rear A/C-heater control panel connector. Turn ignition on. Check for short to ground or short to voltage in Purple wire between rear A/C-heater control panel connector terminal A2 and splice pack SP304 terminal "H". See Fig 16 . If circuit is okay, go to step  76 . If faulty circuit is found and repaired, go to step  78 .
    Fig 14: Identifying Driver's Door Switch Connector Terminals
    G00011715Courtesy of GENERAL MOTORS CORP.
    Fig 15: Identifying Radio Connectors & Terminals
    G00011716Courtesy of GENERAL MOTORS CORP.
    Fig 16: Identifying Rear A/C-Heater Control Panel Connector Terminals
    G00016868Courtesy of GENERAL MOTORS CORP.
  52. If vehicle is equipped with memory seats (A45) or if vehicle is a factory limousine (V4U), go to next step. If vehicle is not equipped with memory seats or is not a factory limousine, go to step  55 .
  53. Turn ignition off. Disconnect jumper wire from terminal "H" of splice pack SP304 and connect to terminal "K". Turn ignition on. Attempt to communicate with Memory Seat Module (MSM) if equipped w/A45 or Left Middle Door Module (LMDM) if equipped w/V4U. If scan tool does not communicate with MSM or LMDM, go to next step. If scan tool communicates with MSM or LMDM, go to step  56 .
  54. Turn ignition off. Disconnect MSM located under the left front seat or LMDM connectors. Turn ignition on. Check for short to ground or short to voltage in Purple wire between MSM connector C2 terminal C2 and splice pack SP304 terminal "K". See Fig 17 . Check for short to ground or short to voltage in Purple wire between LMDM connector C2 terminal "G" and splice pack SP304 terminal "K". See Fig 3 . If circuit is okay, go to step  76 . If faulty circuit is found and repaired, go to step  78 .
  55. If vehicle is equipped with power tilt/telescoping steering column (w/N37), go to next step. If vehicle is equipped with power tilt/telescoping steering column, go to step  58 .
  56. Turn ignition off. Disconnect jumper wire from terminal "K" of splice pack SP304 and connect to terminal "L". Turn ignition on. Attempt to communicate with steering column module (w/N37). If scan tool does not communicate with steering column module, go to next step. If scan tool communicate with steering column module, go to step  58 .
  57. Turn ignition off. Disconnect the steering column module connectors. See Fig 18 . Turn ignition on. Check for short to ground or short to voltage in Purple wire between steering column module connector C1 terminal "A" and splice pack SP304 terminal "L". See Fig 19 . If circuit is okay, go to step  76 . If faulty circuit is found and repaired, go to step  78 .
  58. Turn ignition off. Disconnect Sensing and Diagnostic Module (SDM) connector. SDM is located under rear of center console, mounted to floor. Turn ignition on. Check for short to ground or short to voltage in Purple wire between SDM connector terminal A5 and splice pack SP304 terminal "J". See Fig 4 . If circuit is okay, go to next step. If faulty circuit is found and repaired, go to step  78 .
  59. Check for short to ground or short to voltage in Purple wire between splice pack SP300 terminal "M" and splice pack SP304 terminal "M". If circuit is okay, go to DIAGNOSTIC AIDS  . If faulty circuit is found and repaired, go to step  78 .
  60. Turn ignition off. Disconnect Electronic Brake Control Module (EBCM) connector. See Fig 20 . Turn ignition on. Attempt to communicate with any module still connected to DLC through the class 2 serial data line. If scan tool communicates with any module, go to next step. If scan tool does not communicate with any module, go to step  62 .
  61. Turn ignition on. Check for short to ground or short to voltage in Purple wire between EBCM connector terminal No. 7 and splice pack SP304 terminal "A". See Fig 21 . If circuit is okay, go to step  76 . If faulty circuit is found and repaired, go to step  78 .
    Fig 17: Identifying Memory Seat Module Connectors & Terminals
    G00016869Courtesy of GENERAL MOTORS CORP.
    Fig 18: Locating Steering Column Module
    G00016870Courtesy of GENERAL MOTORS CORP.
    Fig 19: Identifying Steering Column Module Connectors & Terminals
    G00016871Courtesy of GENERAL MOTORS CORP.
    Fig 20: Locating Electronic Brake Control Module
    G00016872Courtesy of GENERAL MOTORS CORP.
    Fig 21: Identifying Electronic Brake Control Module Connector Terminals
    G00016873Courtesy of GENERAL MOTORS CORP.
  62. Turn ignition off. Disconnect Powertrain Control Module (PCM) connectors located in left front of engine compartment, below air cleaner. Turn ignition on. Attempt to communicate with any module still connected to DLC through the class 2 serial data line. If scan tool communicates with any module, go to next step. If scan tool does not communicate with any module, go to step  64 .
  63. Turn ignition on. Check for short to ground or short to voltage in Purple wire between EBCM connector terminal No. 21 and PCM connector C1 terminal No. 18. See Fig 22 . If circuit is okay, go to step  76 . If faulty circuit is found and repaired, go to step  78 .
  64. Turn off the ignition. Disconnect Instrument Panel Cluster (IPC) connectors. Turn ignition on. Check for short to ground or short to voltage in Purple wire between PCM connector C1 terminal No. 59 and DLC terminal No. 2. If circuit is okay, go to next step. If faulty circuit is found and repaired, go to step  78 .
  65. Turn ignition off. Reconnect PCM, EBCM, splice pack SP300, and splice pack SP304. Disconnect Dash Integration Module (DIM) connectors. See Figure . Turn ignition on. Attempt to communicate with PCM. If scan tool does not communicate with PCM, go to next step. If scan tool communicates with PCM, go to step  67 .
  66. Turn ignition on. Check for short to ground or short to voltage in Purple wire between DIM connector C2 terminal A11 and splice pack SP300 terminal "C". See Fig 23 . If circuit is okay, go to DIAGNOSTIC AIDS  . If faulty circuit is found and repaired, go to step  78 .
  67. Turn ignition off. Reconnect DIM connectors. Disconnect Instrument Panel Module (IPM) connectors. See Figure . Turn ignition on. Attempt to communicate with any module still connected to DLC through class 2 serial data line. If scan tool does not communicate with any module, go to next step. If scan tool communicates with any module, go to step  69 .
  68. Turn ignition off. Disconnect DIM connectors. Turn ignition on. Check for short to ground or short to voltage in Purple wire between IPM connector C1 terminal B10 and DIM connector C2 terminal A12. See Fig 24 . If circuit is okay, go to step  76 . If faulty circuit is found and repaired, go to step  78 .
    Fig 22: Identifying Powertrain Control Module Connector C1 Terminals
    G00012127Courtesy of GENERAL MOTORS CORP.
    Fig 23: Identifying Dash Integration Module Connectors & Terminals
    G00016874Courtesy of GENERAL MOTORS CORP.
    Fig 24: Identifying Instrument Panel Integration Module Connectors & Terminals
    G00016875Courtesy of GENERAL MOTORS CORP.
  69. Turn ignition off. Reconnect IPM connectors. Disconnect navigation data processor (if equipped w/UY4) connector or radio (if not equipped w/UY4) connectors. See Figure . Turn ignition on. Attempt to communicate with any module still connected to DLC through the class 2 serial data line. If scan tool does not communicate with any module, go to next step. If scan tool communicates with any module, go to step  71 .
  70. Turn ignition off. Disconnect IPM connectors. Turn ignition on. Check for short to ground or short to voltage in Purple wire between navigation data processor connector terminal C13 (if equipped w/UY4) or radio connector terminal E6 (if not equipped w/UY4) and IPM connector C1 terminal B10. See Fig 8 or Fig 15 . If circuit is okay, go to step  76 . If faulty circuit is found and repaired, go to step  78 .
  71. Turn ignition off. Reconnect navigation data processor or radio connectors. Disconnect rear A/C-heater control panel. Turn ignition on. Attempt to communicate with any module still connected to DLC through class 2 serial data line. If scan tool does not communicate with any module, go to next step. If scan tool communicates with any module, go to step  73 .
  72. Turn ignition off. Disconnect navigation data processor or radio connector. Turn ignition on. Check for short to ground or short to voltage in Purple wire between instrument cluster connector C1 terminal B8, rear A/C-heater control panel connector terminal A2 (if not equipped w/B9Q or V4U) and navigation data processor connector terminal D13 (if equipped w/UY4) or radio connector terminal F6 (if not equipped w/UY4). See Fig 5 , Fig 8 , Fig 15 or Fig 16 . If circuit is okay, go to step  76 . If faulty circuit is found and repaired, go to step  78 .
  73. Turn ignition off. Reconnect rear A/C-heater control panel connector. Turn ignition on. Attempt to communicate with any module still connected to DLC through class 2 serial data line. If scan tool communicates with any module, go to next step. If scan tool does not communicate with any module, go to step  77 .
  74. Check for poor connections at IPC connector C1 terminal B8 and C2 terminal B8. If connection is okay, go to next step. If faulty connection is found and repaired, go to step  78 .
  75. Replace IPC. See ANALOG & ELECTRONIC INSTRUMENT PANELS - DEVILLE article. After repairs, go to step  78 .
  76. Check for poor connections at class 2 serial data line terminal of most recently disconnected module. If connection is okay, go to next step. If faulty connection is found and repaired, go to step  78 .
  77. Replace most recently disconnected or reconnected module. See appropriate procedure under REMOVAL & INSTALLATION  . After repairs, go to next step.
  78. Reconnect all disconnected modules and connectors. Connect scan tool to DLC. Turn ignition on. Wait 10 seconds. Select display DTCs function for each module. If using Tech 2, use CLASS 2 DTC CHECK feature to determine which modules have not set DTCs. If no DTCs are set current that begin with "U", go to next step. If any DTCs are set current that begin with "U", go to step  80 .
  79. If any DTCs are set that do not begin with "U", go to next step. If no additional DTCs are set, go to step  81 .
  80. Diagnose set DTCs. See BODY CONTROL SYSTEM DIAGNOSTIC TROUBLE CODE IDENTIFICATION  table. If referred from another article, return to that article and diagnose DTC. After repairs, go to next step.
  81. If all DTCs have been diagnosed and repaired, go to next step. If all DTCs have not been diagnosed and repaired, go to step  80 .
  82. Clear DTCs using scan tool. Recheck system operation. Go to BODY CONTROL SYSTEM DIAGNOSTIC SYSTEM CHECK  . If referred from another article, return to that article and perform diagnostic system check.