lemon-mirror:
Home >> Saab >> 2009 >> 9-7X 4.2i >> Repair and Diagnosis >> Electrical >> Component Locations >> Electrical Component Locator >> Control Units

Control Units

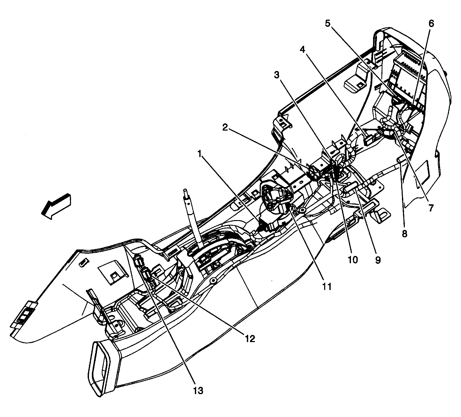
CONTROL UNITS LOCATION

Component Location
Blower Motor Control Module On blower motor. See Figure.
Body Control Module Beneath left rear seat, on rear fuse block. See Figure.
Electronic Brake Control Module (EBCM) On inner left frame rail, beside transmission. See Figure.
Engine Control Module (ECM) Near lower left front of engine. See Figure.
Inflatable Restraint Front Passenger Presence System (PPS) Module Under passenger's seat. See Figure.
Inflatable Restraint I/P Module Right side of dash. See Figure.
Inflatable Restraint Roof Rail Module - Left In roof above driver door.
Inflatable Restraint Roof Rail Module - Right In roof, above front passenger's door.
Inflatable Restraint Sensing & Diagnostic Module (SDM) Below rear of center console. See Figure.
Inflatable Restraint Steering Wheel Module In steering wheel. See Figure.
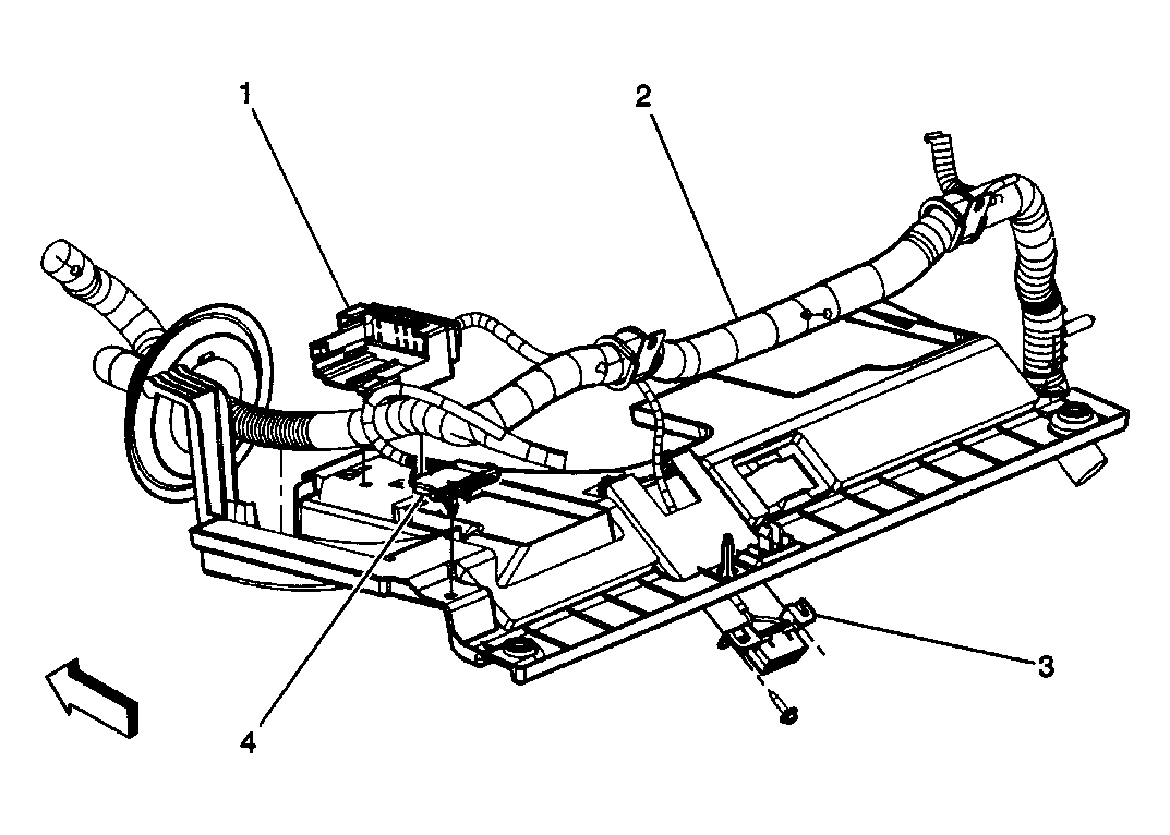
Liftgate Module (LGM) (9) In center of liftgate. See Figure.
Memory Seat Module - Driver Below driver's seat. See Figure.
Powertrain Control Module (PCM) (4.2L) On upper left side of engine. See Figure.
Sunroof Module At rear of sunroof assembly. See Figure.
Theft Deterrent Control Module (2) Under floor console. See Figure.
Theft Deterrent Exciter Module (11) Under floor console. See Figure.
Transfer Case Shift Control Module Behind lower left side of dash. See Figure.
Transmission Control Module (TCM) Near lower left front of engine. See Figure.
Turn Signal/Hazard Flasher Module (1) Behind lower left side of dash. See Figure.
Vehicle Communication Interface Module (VCIM) Under right rear seat. See Figure.